当前位置:首页 > 新闻资讯 > 产业动态
电力变压器输出电压的调节方法
发布时间:2023-03-02   浏览:675次
电力变压器输出电压的调节方法

  电压标准的稳定性是衡量电能质量的重要指标。在实际功耗中,由于电网损耗大,加上峰谷差大,功耗低,容易引起变压器输出电压波动。电源电压从高到低的波动对各种电气设备的性能、生产效率和产品质量有很大的影响。为了保证供电电压合格率,必须及时调整变压器的输出电压。

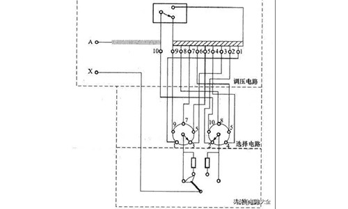
  一般的三相变压器是三速或五速调压开关,可以用来调节变压器的一次电压。

 

电力变压器输出电压的调节方法

 

  变压器调压步骤:

  (一)电源故障。断开变压器低压侧的负载,用绝缘棒打开高压侧的跌落保险丝,采取必要的安全措施,拧下变压器分接开关的保护盖,将定位销置于零位。(二)调整档位时,根据输出电压将分接开关调整到相应位置:当变压器输出值低于允许值时,将分接开关从一档调整到二档,或从二档调整到三档。当变压器输出值高于允许值时,将分接开关从三档调整到二档,或从二档调整到一档。(三)调整齿轮后,用直流电桥测量各相绕组的直流电阻,检查各绕组之间的电流是否平衡。如果每相电阻值之差大于2%,则必须重新调整。否则,运行后动、静触头接触不良会发热,损坏变压器。


有任何产品相关疑问
请与我们取得联系,帮助您解决产品问题

版权所有 平顶山天晟电气有限公司 备案号:豫ICP备19019002号-9 
    专注电气设备
  • ● 30年电力行业深耕经验
  • ● 128项发明专利认证
  • ● 300000㎡省级电气专业园
  • ● 1000+知名企业合作

即刻获取线上支持

欢迎联系获取产品解决方案,以及全套设备报价单!
  • 咨询热线:17169008777、
  • 总部地址:河南省平顶山市郏县城东产业集聚区
扫码关注

微信公众号